| 1 ISDN契約(1997.10) Windows95を使い始めて約1年、巷では「インターネットがおもしろい」という声がよく聞かれましたが、さほどの興味もなく生活していました。しかし、やはり「流行しているものは経験しなくては」ということで、ようやく重い腰を上げてインターネットをやることになりました。どうせやるなら電話と同時に使えないのは不便なので、電話回線をISDNに変更しました。デジタル回線を変換するためのターミナルアダプタという余分な出費もありましたが、NECの安い機種(Aterm IT50DSU)ですませました。田舎に住んでいたのでプロバイダの選択肢はOCNとホッカイネットというローカルプロバイダだけでしたが、結局はHP領域10MB無料ということでホッカイネットに決定しました(当時はまだHPを作成する気はありませんでしたが)。今もこのプロバイダを継続しています(後にHPを開設してアドレスが変わるのがいやなため・・・無料HP領域は20MBに増えました)。 |
![]() |
![]() |
2 ISDNルータ購入(1998.4) 事情により単身赴任をすることになり、TAは本家に置いて別宅用にルータ(NECのコムスターズCMZ-RT-D1)を購入。本体(NEC PC-9821Xv13/W13)には最初から100BASEのLANがついていて、ようやくそれを使うことになりました。最初の設定で少しつまずいたりしましたが無事接続完了し、接続時の余分な画面がなくなり快適でした。ネットワークに関しては全く無知でしたが、4ポートのハブ内蔵なので、もう1台のパソコン(NEC PC-9821Ap/U2)にもつないでみることにしました(はじめは本宅のTAに接続されていましたが、あまりにも遅いので別なマシンを購入した)。 |
| 初の家庭内LAN構築です。こちらのマシンはPCIバスがないので、LANカードはCバス用(LANEED
LD-98PT)を購入するしかありませんがこれが高いこと(8000円くらいした)。無事接続されてインターネットをできるようにはなりましたが、LANの知識は全くないために、2台のパソコンがそれぞれインターネットにつながっているだけの状態でした。しかもやはりApのスペックではインターネットといえども辛いものがあり(Windows95をインストールするだけでも辛い)、ほとんど使うことはありませんでした。 |
|
| 3 家庭内LAN(2000.4) 2年間の単身赴任が終わり、すべてのマシンがそろったので本格的に家庭内LANの構築をしてみることにしました。とは言ってもサーバーを構築するわけではありませんから、やってみれば他愛のないことで、要するに共有設定をしていなかっただけです。家庭内と言っても私と妻だけですからパスワードも何もなく、めったにお互いのマシンを見ることもなく、要するにルータのハブに2台のパソコン(この頃はApについてはあきらめていた)がつながれていて、同時にインターネットができるということだけです。さらに2ヶ月後には妻用のマシンを妻の職場に持っていくことになり、ハブさえも使わないという状態になりました。もう家庭内LANとは言えません。(笑) |
![]() |
4 フレッツISDN(2000.12) 半年が経過して ようやくフレッツISDNの対象地域に入り、時間を気にしないでインターネットができるという魅力からすぐに申し込みました。開通までに1ヶ月ほど待たされましたが、その間いろいろ調べていると使用中のルータはフレッツに対応していないことがわかりました。ただつなぎっぱなしにするだけなのに何故対応していないのかわかりませんが、NECのサイトを調べても「ファームウェアをアップしても非対応」ということなので、あきらめて新しいルータ(NTT-ME MN128 SOHO-PAL)を購入しました。何だかんだとお金がかかります。設定はあっという間に終わり、無事接続完了です。その後メインマシンを取り替えた(EpsonDirect Endeavor-Pro700L)ので、Xv13が妻用のマシンになり、懲りずにApは別の部屋に置いてLANで接続しました。とりあえずどのマシンからもインターネットができる環境になりました。 |
| 5 ADSL導入(2001.12) フレッツISDNのために新しいルータを購入して1年しかたっていませんが、待ちに待ったADSL1.5Mの対象地域となったので迷うことなく変更することにしました。電話番号が変わるという不都合はありましたが、ちょうど年賀状の季節だったのでよしとしました。外部接続機器がたくさんあるのはイヤなので、本当はモデム内蔵ルータを買いたかったのですが、とりあえずモデムはNTTのレンタルとし、安いルータ(MELCO BLR-TX4L)を購入しました。セキュリティの問題を考えなければハブだけでもいいのですが、一応万が一のためにということです。最初基地局から4kmほどあると思っていましたが、その後の調べで1.6kmだということがわかりました。接続当初は800〜900Kbps程度の速度でしたが、プロバイダのバックボーン増強などもあり、最大で下り1.3Mbps程度の速度で接続できるようになりました。ISDNの時の20倍程度の圧倒的な速さに快適なインターネット生活となりました。 |
![]() |
![]() |
7 プリントサーバ(2002.7) ここまでの段階で、我が家には有線LANで6台のマシンが接続されました(といっても実質的に活動しているのは3台です)。そのうち私のメインマシンの他に妻のマシンからも印刷することがあり、プリンタの共有設定を利用していました。しかし、これでは妻のマシンから印刷するときに私のマシンに電源が入っていなくてはなりません。プリンタのコネクタに直接つける小型のプリントサーバもありますが、レーザーとインクジェットの2台あるため両方使えなくては意味がありません。そこでパラレルポートを3ポート持つ小型のプリンタサーバ(Planex Mini300plus)を購入しました。付属するCD-ROMから新しいポートをインストールして、プリンタをそのポート経由にするのですが、それぞれのマシンにおいてローカルプリンタとして扱うというのが今イチ納得できないところです。 |
| 6 ADSL8M導入(2002.8) ADSL1.5Mで特別不満があったわけではないのですが、料金がほとんど変わらないのであれば少しでも速いほうが良いという心理で、8Mの対象地域に入ってすぐに変更しました。前回買ったルータは安いものの実効スループット7.6Mということでそのまま使っています(内蔵ハブも10/100MBスイッチングハブになっている)。新しいレンタルモデムの中身はNECのブロードバンドルータ(Aterm DR30F/CE)と同じだという情報を得て、その関係で調べてみるとリンク速度は7.8Mbpsも出ており、ほぼフルリンクの状態です。しかし、実効速度は最大でも下り5.7Mbps止まりで、もう少し設定の仕方がありそうです。その後の調査で、使用しているルータはMTUが1440の固定で、これを変更しなければこれ以上の速度アップは望めなさそうです。保証外(というかふたを開けた段階で反則のようなもの)ですが、レンタルモデムをルータ化して使ってみようか、と考えている段階です。 |
![]() |
![]() |
8 無線LAN導入(2002.8) 有線LANでつながれた6台のマシンのうち1台は階下の両親のマシンで、たまにしかつながないのに長いケーブルがむき出し状態で課題となっていました。また、その他にモバイルマシン(CASIO Cssiopeia205C)を時々接続していますが、これも時々居間で使いたいことがあります。そのたびにケーブルを引き回すのも何だし、ということでついに無線LANを導入することになりました。購入したのはMELCOのWLA-S11Gと無線LANカード2枚(WLI-PCM-S11GとCFスロット型のWLI-CF-S11G)です。説明書には何やらたくさん書いてありますが、設定は意外と簡単でした。無事2台の無線LANマシンができあがり、長いケーブルは撤去されました。スピードもほぼ問題なく出ており(階下で60〜70%)、切断されるというよなこともなく快適です。この後はセキュリティの強化をしなければならない状態です。 |
|
|
9 ルータ交換(2003.1) 常に5Mbps以上の速度が出ていて、回線がADSLモアとかBフレッツにでもならなければ大きな変化は望めませんが、MTU固定という状況を打破するとどうなるのかが知りたくて、しばらく買い物をしていなかった反動も手伝ってルータを買い換えてしまいました。今回購入したのもMelcoの製品で実効スループット88Mbpsという高速ブロードバンドルータ(BLR3-TX4)です。結果は・・・、いつも計測しているサイトで、瞬間的には6Mbpsを超えましたが、平均すると5M台の中間から後半といったところです。しかし、最初にアクセスしたときは速くなった感じがしました。ルータ自体は安かったから(12800円の20%ポイント還元)いいのですが、やはりこれ以上は回線が変わらなければどうしようもなさそうなので、しばらくこのままです。でも何やらたくさん設定項目があるので少し勉強しなくては。 |
![]() |
| 10 フレッツADSLモア(2003.3) | |
![]() |
ADSL8Mに変更してわずか半年あまりですが、12Mもフレッツモアの区域内に入ったのでさっそく変更しました。場合によっては遅くなることもある、という話を聞いてややビビっていましたが、劇的に速くならないまでも少しは早くなりました。モアの契約でレンタルモデムが変更になり、リンク速度を測ることができるようになりました。それで計測したところ、9Mbps弱というところです。スループットはというと、フレッツスクエアでの最高値が6.5Mbps、いつも計測しているサイト(ブロードランド)での最高値が5.9Mbpsです。8Mを契約した頃の最高値が5.7Mbpsですからあまり変わらないようですが、最近は5Mbps台の半ばがせいぜいだったので、少しは早くなったと言うところでしょう。ところで、今回のモデムにはDHCP機能が搭載されており、ハブさえあればルータがなくても複数台接続することができます。しかし、すでにルータを使用しており、モデムのIPアドレスが192.168.1.1で、ルータは192.168.0.1であることから、どうも設定が面倒です。忙しい時期にモアに変更になったので、考えるのも面倒で、とりあえずモデムのDHCP機能をOFFにして、モデムにアクセスするときだけルータのIPアドレスを変えています。今も(4月)まだ忙しいし、モデムにアクセスする必要があるのはリンク速度を測りたいときだけですから、しばらくはこのままでしょう。 |
| 11 ワイヤレスルータへ(2004.11) インターネットは速いに超したことはありませんが、接続先のサーバーの問題もあり、回線を速くしたり機械を替えてもそれほど大きな効果は望めないだろう、ということもあり、全く何の変更もなく1年半が過ぎました。しかし、ある時突然無線LANのパソコンからインターネットができなくなり、調べてみると無線LANのアクセスポイント(ルータに接続するタイプのMELCO WLA-S11G)が壊れたのです。そんなわけで、それだけ買い替えれば済むことなのですが、何となく無線LAN内蔵のルータに交換することにしてしまいました。安い機種もあったのですが、今までよりもスループットが速く(98.7Mbps)、ブースター内蔵でハイパワーのモデルです。IEEE802.11gにも対応していますが、カード関係はそのままなので11bでの接続です(11aは非対応のモデル)。1台で済むのと、体感的にほんの少し速くなったような気がして満足の買い換えでした。ちょっと心残りは、11gも経験してみたかったので「やっぱりカードとセットになった方を買えば良かったかな」ということです。カード単体は6800円ほどするのに、セットだと2500円程度の上乗せで済むのです。 |
![]() |
![]() |
12 フレッツADSLモアIII(2004.11) ルータを交換する際、ついでにADSLの回線も変更しました。開通日はルータを交換してから2週間かかったので、同じルータでの回線速度の違いがわかります。12Mのモアでは5.5〜6Mbpsだったスループット(ブロードランド)が、47MのモアIIIでは13〜14Mbpsになりました。2倍以上になり、さすがに体感的にもかなり違います。Bフレッツがもう少し安ければそちらにするのですが、まあこれくらいの速度が出ていれば問題ないでしょう。今回のモデムもやはりルータ機能内蔵で、IPアドレスは192.168.1.1です。ハブさえつければこれだけで複数台の接続が可能ですが、上に書いたとおりルータは無線内蔵で交換したばかりですから、前回と同様にモデムのルータ機能をOFFにして使うことにしました。前回と違うのはルータのIPアドレスを192.168.1.2にしたことですが、全てのマシンでIPアドレスの再取得をしなければならないとか、Norton Internet Securityの信頼ゾーンの設定を変えるなどの手間がかかったにもかかわらず、やはり通常のままではモデムにアクセスできません。どうもこういうネットワーク関係はよくわからないのでイライラしてしまいます。 |
![]() WLI-CF-S11G |
WLI-PCM-S11G |
![]() WLI-CB-B11 WLI-USB-S11→ |
![]() |
| 13 54Mbps無線LAN(2005.1) ルータを交換する際にカードとセットになった方を買わなかったために、後から高い金額で買うのもしゃくだったので54Mbps(IEEE802.11g)を体験しないままになっていましたが、エントリータイプの安いカードもあるということが |
|
| わかって買ってみました。居間のNT-1000に挿した状態でほぼ54Mbps 100%(ときどき36Mbpsくらいになる)の電波状況で、11bで2.7Mbps程度だったのが3.4Mbpsに改善されました。マシンの性能から言ってこの程度なのかもしれません。しかし、使用感としてはかなり改善されました。食卓に置いてあるFIVAにもつけてみましたが、マシン性能の関係でそれほど数値が上がらないのでNT-1000で使うことにして、それまで使っていた11bのカードをFIVAに回しました。CF型のカードよりは感度が良いようです。 | ![]() |
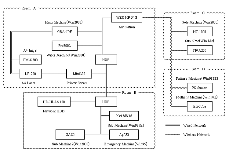
現在のLANの状況 2004年11月現在の家庭内ネットワーク図は下の通りです。このネットワーク自体は今後もほとんど変化はないと思われます。 ![]() |